Bluesky Facebook Reddit Email

Russian physicists supervised the formation of higher manganese silicide films

05.25.18 | Siberian Federal University

Apple Watch Series 11 (GPS, 46mm)

Apple Watch Series 11 (GPS, 46mm) tracks health metrics and safety alerts during long observing sessions, fieldwork, and remote expeditions.


A team from Kirensky Institute of Physics (Siberian Branch of the Russian Academy of Sciences) together with colleagues from Siberian Federal University offered an approach for the controlled synthesis of semiconducting higher manganese silicide thin films. The films may be used in thermoelectric converters and other devices. The team also suggested other areas of application for these materials. The results of the work were published in Journal of Materials Science .

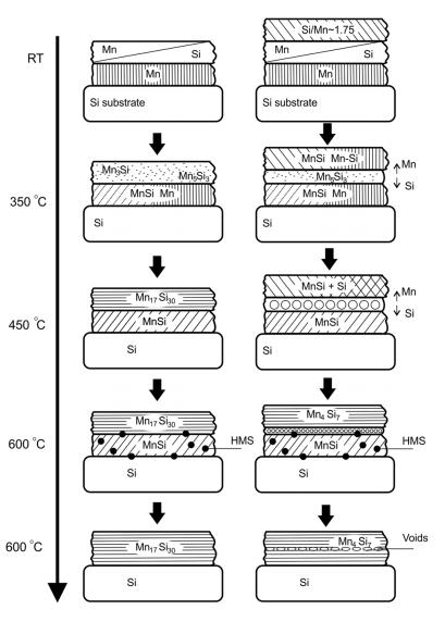
Higher manganese silicides (MnSi~1.75 ) are a group of manganese and silicon compounds with an exotic crystal structure called "chimney-ladder". Manganese atoms form the chimney itself, and silicon is shaped similar to helices. Compounds attributed to this group differ from each other by the twist of helices. In Mn4Si7, the most famous member of the group, it is the least twisted than in other eleven phases known it gets tighter. Still, the twist maximum of helices in such structure is unknown, as well as the means of targeted synthesis of a particular structure belonging to the group. There is also an ambiguity in their physical properties. To carry out the targeted synthesis of different phases of higher manganese silicides on a silicon substrate, which may be used for thermoelectric and photovoltaic converters, optoelectronic and spintronic devices, is still rather difficult for the scientists. As a rule, to obtain higher manganese silicide thin films, manganese and silicon are placed on the silicon substrate, and afterwards, the system is annealed. In such condition, silicon atoms diffuse from the silicon substrate to the reaction zone and may change the phase formation sequence drastically as the amount of silicon in different higher manganese silicide phases varies within less than one atomic percent. Due to such diffusion, it is impossible to obtain a desirable higher manganese silicide phase on silicon substrate just placing the required amount of manganese and silicon, and then heating the system. Silicon atoms from the silicon substrate change the silicon content in the film uncontrollably. The team aimed to resolve this issue during the study.

Two phases of higher manganese silicides were selected for targeted synthesis: Mn4Si7 with the least and Mn17Si30 with the most twisted helices. Like the majority of well-known higher manganese silicides, the first phase has p-type conduction. When the substance is heated, covalent links in it are distorted, and free electrons occur and start moving around. This creates holes that move in the direction opposite to that of the electrons. The second phase shows n-type conduction. In this case, the free electrons are the charge carriers.

"In this work, we used an unusual approach to the synthesis of samples. We assumed that if higher manganese silicides uncontrollably form from the amorphous mix, their formation from the mixtures of phases of other manganese silicides with higher manganese content shall differ as well for different phases. Whatever the elements on the silicon base, a compound from the higher manganese silicide family will always be the last stage. Having conducted some simple thermodynamic calculations, we found out what should be placed on the base for Mn4Si7 and Mn17Si30 phases to form," - explained Ivan Tarasov, one of the authors of the article, a candidate of physical-mathematical sciences, and research fellow at the laboratory of the physics of magnetic phenomena, Kirensky Institute of Physics (Siberian Branch of the Russian Academy of Sciences).

The scientists decided to implement this idea and obtained the structures targeted. Afterwards, their physical properties were studied as well. The n-type conductivity of Mn17Si30 was not confirmed. Theoretical calculations showed that the reason for this might be silicon vacancies, i.e. the absence of atoms in the places where they are expected to be in the Mn17Si30 crystal structure. The team registered the highest charge carrier mobility in higher manganese silicide films.

"After studying the properties of the new phase of higher manganese silicide we obtained quite interesting results. Most importantly, the approach we developed for synthesising such films proved to be effective. In the future we will improve it and further use to obtain different silicides with the properties required for use in actual thermoelectric and photovoltaic devices," - concluded Anton Tarasov, a co-author of the article, candidate of physical and mathematical sciences, senior lecturer at the basic department of solid state physics and nanotechnologies, Institute of Engineering Physics and Radioelectronics of Siberian Federal University.

###

This study was available online on February 2018, ahead of the peer-review and publication this month.

The team worked in cooperation with the scientists from Mikheev Institute of Metal Physics (Ural Department of the Russian Academy of Sciences), Institute of Chemistry and Chemical Technology (Siberian Department of the Russian Academy of Sciences), Ural Federal University, and Siberian State Aerospace University within the framework of a project of Russian Science Foundation.

Journal of Materials Science

Keywords

Article Information

Contact Information

Yaroslava Zhigalova
press@sfu-kras.ru

Source

How to Cite This Article

APA:
Siberian Federal University. (2018, May 25). Russian physicists supervised the formation of higher manganese silicide films. Brightsurf News. https://www.brightsurf.com/news/LQMDJ3G1/russian-physicists-supervised-the-formation-of-higher-manganese-silicide-films.html
MLA:
"Russian physicists supervised the formation of higher manganese silicide films." Brightsurf News, May. 25 2018, https://www.brightsurf.com/news/LQMDJ3G1/russian-physicists-supervised-the-formation-of-higher-manganese-silicide-films.html.